太阳集团2007(有限公司)-官方网站
/ EN
CN
/ EN
CN
办事指南
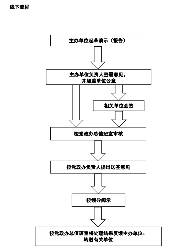
【太阳集团2007】校内请示、报告处理流程
本文由
于
2021-06-09
发布在
办事指南
栏目中 浏览次数
上一条:【太阳集团2007】学校事务申请用印流程
下一条:【太阳集团2007】事业单位法人证书申请流程
【
关闭
】
/ EN
CN
关于我们
Introduction
党群工作
Party Works
人才培养
Talent Education
员工工作
Our Team
科研与创作
Research & Creation
人才招聘
Enrollment & Employment
交流合作
Communication
办事指南
Data
联系我们
Contact Us